Сопротивление материалов – страница 69
1 Кейс-задания: Кейс 1 подзадача 3

Обрешетина кровли из деревянного бруса подвергается действию вертикальной равномерно распределенной нагрузки с интенсивностью q. Нагрузка складывается из веса кровли и снеговой нагрузки.

Обрешетину рассматриваем как балку, шарнирно опертую по концам. Максимально допустимое значение интенсивности q из расчета на прочность равно _____
Конечный результат округлить до целого числа.

Обрешетина кровли из деревянного бруса подвергается действию вертикальной равномерно распределенной нагрузки с интенсивностью q. Нагрузка складывается из веса кровли и снеговой нагрузки.

Обрешетину рассматриваем как балку, шарнирно опертую по концам. Максимально допустимое значение интенсивности q из расчета на прочность равно _____
Конечный результат округлить до целого числа.2 Кейс-задания: Кейс 1 подзадача 1

Обрешетина кровли из деревянного бруса подвергается действию вертикальной равномерно распределенной нагрузки с интенсивностью q. Нагрузка складывается из веса кровли и снеговой нагрузки.
При косом изгибе в поперечных сечениях стержня, в общем случае, действует _________ внутренних силовых фактора(-ов).

Обрешетина кровли из деревянного бруса подвергается действию вертикальной равномерно распределенной нагрузки с интенсивностью q. Нагрузка складывается из веса кровли и снеговой нагрузки.
При косом изгибе в поперечных сечениях стержня, в общем случае, действует _________ внутренних силовых фактора(-ов).
3 Кейс-задания: Кейс 1 подзадача 2

Обрешетина кровли из деревянного бруса подвергается действию вертикальной равномерно распределенной нагрузки с интенсивностью q. Нагрузка складывается из веса кровли и снеговой нагрузки.


Обрешетина рассматривается как балка шарнирно опертая по концам. Нормальное напряжение в точке К среднего поперечного сечения (см. рисунок) равно ______ МПа.
Нормальное напряжение вычислить с точностью до сотых.

Обрешетина кровли из деревянного бруса подвергается действию вертикальной равномерно распределенной нагрузки с интенсивностью q. Нагрузка складывается из веса кровли и снеговой нагрузки.


Обрешетина рассматривается как балка шарнирно опертая по концам. Нормальное напряжение в точке К среднего поперечного сечения (см. рисунок) равно ______ МПа.
Нормальное напряжение вычислить с точностью до сотых.
4 Кейс-задания: Кейс 1 подзадача 3

Обрешетина кровли из деревянного бруса подвергается действию вертикальной равномерно распределенной нагрузки с интенсивностью q. Нагрузка складывается из веса кровли и снеговой нагрузки.

Обрешетина рассматривается как балка, шарнирно опертая по концам. Максимально допустимая длина пролета l из расчета на прочность по допускаемым напряжениям равна ___ м.
Длину l округлить до целого числа.

Обрешетина кровли из деревянного бруса подвергается действию вертикальной равномерно распределенной нагрузки с интенсивностью q. Нагрузка складывается из веса кровли и снеговой нагрузки.

Обрешетина рассматривается как балка, шарнирно опертая по концам. Максимально допустимая длина пролета l из расчета на прочность по допускаемым напряжениям равна ___ м.
Длину l округлить до целого числа.
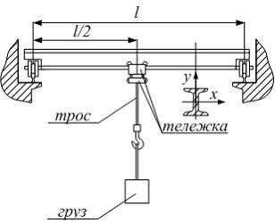
5 Кейс-задания: Кейс 2 подзадача 1

На рисунке показано схематическое изображение мостового крана пролетом l, состоящего из двутавра и тележки. Кран поднимает или опускает груз весом F с ускорением а.
Принцип, сводящий задачу об ускоренном движении тела к статической задаче, называется принципом …

На рисунке показано схематическое изображение мостового крана пролетом l, состоящего из двутавра и тележки. Кран поднимает или опускает груз весом F с ускорением а.
Принцип, сводящий задачу об ускоренном движении тела к статической задаче, называется принципом …
6 Кейс-задания: Кейс 2 подзадача 2

На рисунке показано схематическое изображение мостового крана пролетом l, состоящего из двутавра и тележки. Кран поднимает или опускает груз весом F с ускорением а.
Груз весом F = 10 кН, подвешенный на тросе, поднимается с ускорением
Диаметр троса d = 1см. Нормальное напряжение в поперечном сечении троса равно ____ МПа. Ускорение свободного падения принять равным
Расчеты производить с точностью до сотых. Окончательный результат округлить до целого числа.

На рисунке показано схематическое изображение мостового крана пролетом l, состоящего из двутавра и тележки. Кран поднимает или опускает груз весом F с ускорением а.
Груз весом F = 10 кН, подвешенный на тросе, поднимается с ускорением
Диаметр троса d = 1см. Нормальное напряжение в поперечном сечении троса равно ____ МПа. Ускорение свободного падения принять равным
Расчеты производить с точностью до сотых. Окончательный результат округлить до целого числа.7 Кейс-задания: Кейс 2 подзадача 3

На рисунке показано схематическое изображение мостового крана пролетом l, состоящего из двутавра и тележки. Кран поднимает или опускает груз весом F с ускорением а.
Укажите правильную последовательность указанных действий.

На рисунке показано схематическое изображение мостового крана пролетом l, состоящего из двутавра и тележки. Кран поднимает или опускает груз весом F с ускорением а.
Укажите правильную последовательность указанных действий.
8 Кейс-задания: Кейс 1 подзадача 1

Колонна здания прямоугольного поперечного сечения нагружена силой F в точке K.

Ядро поперечного сечения колонны имеет вид …

Колонна здания прямоугольного поперечного сечения нагружена силой F в точке K.

Ядро поперечного сечения колонны имеет вид …
9 Кейс-задания: Кейс 1 подзадача 2

Колонна здания прямоугольного поперечного сечения нагружена силой F в точке K.


Нормальное напряжение в точке С поперечного сечения равно ____ МПа. Нормальное напряжение в точке С округлить до целого числа.

Колонна здания прямоугольного поперечного сечения нагружена силой F в точке K.


Нормальное напряжение в точке С поперечного сечения равно ____ МПа. Нормальное напряжение в точке С округлить до целого числа.
10 Кейс-задания: Кейс 1 подзадача 3

Колонна здания прямоугольного поперечного сечения нагружена силой F в точке K.
b = 10 см, h = 20 см. Напряжение в центре тяжести поперечного сечения при центральном сжатии силой F
известно и равно 9 МПа. Если силу F переместить в точку с координатами
то напряжение в центре тяжести поперечного сечения будет равно _____ МПа.

Колонна здания прямоугольного поперечного сечения нагружена силой F в точке K.
b = 10 см, h = 20 см. Напряжение в центре тяжести поперечного сечения при центральном сжатии силой F
известно и равно 9 МПа. Если силу F переместить в точку с координатами
то напряжение в центре тяжести поперечного сечения будет равно _____ МПа.При горизонтальном ударе, без учета массы ударяемой системы, величина динамического коэффициента определяется по формуле …
13 
Две массы m (см. рисунок) прикреплены к оси CD посредством жесткого стержня AB и тонкой проволоки длиной 6t и равномерно вращаются вместе с осью. Число оборотов в минуту – n. Угол отклонения проволоки от вертикали
Выражение для продольной силы в проволоке имеет вид …
В расчетах учесть и вес массы.

Две массы m (см. рисунок) прикреплены к оси CD посредством жесткого стержня AB и тонкой проволоки длиной 6t и равномерно вращаются вместе с осью. Число оборотов в минуту – n. Угол отклонения проволоки от вертикали
Выражение для продольной силы в проволоке имеет вид …В расчетах учесть и вес массы.
14 
На рисунке показана упрощенная диаграмма предельных амплитуд. Симметричному циклу напряжений соответствует точка …

На рисунке показана упрощенная диаграмма предельных амплитуд. Симметричному циклу напряжений соответствует точка …
15 
Две массы m прикреплены к валу ВD (см. рисунок). Система равномерно вращается с угловой скоростью
Изгибающий момент в сечении С-С, вызванный силами инерции масс, равен …

Две массы m прикреплены к валу ВD (см. рисунок). Система равномерно вращается с угловой скоростью
Изгибающий момент в сечении С-С, вызванный силами инерции масс, равен …16 
На балку установлен электродвигатель, в котором имеется несбалансированная вращающаяся масса. Размер l, осевой момент инерции поперечного сечения
, модуль упругости Е, вес электродвигателя F заданы. Выражение для числа оборотов в минуту электродвигателя, при котором наступает резонанс, имеет вид … Балку с двигателем рассматривать как систему с одной степенью свободы. Массу балки в расчетах не учитывать.

На балку установлен электродвигатель, в котором имеется несбалансированная вращающаяся масса. Размер l, осевой момент инерции поперечного сечения
, модуль упругости Е, вес электродвигателя F заданы. Выражение для числа оборотов в минуту электродвигателя, при котором наступает резонанс, имеет вид … Балку с двигателем рассматривать как систему с одной степенью свободы. Массу балки в расчетах не учитывать.17 
При падении груза весом F на балку (см. рисунок) динамический прогиб поперечного сечения определяется по формуле
где
– …

При падении груза весом F на балку (см. рисунок) динамический прогиб поперечного сечения определяется по формуле
где
– …18 Кейс-задания: Кейс 1 подзадача 1

Обрешетина кровли из деревянного бруса подвергается действию вертикальной равномерно распределенной нагрузки с интенсивностью q. Нагрузка складывается из веса кровли и снеговой нагрузки.
При косом изгибе в поперечных сечениях стержня, в общем случае, действуют _________ внутренних силовых фактора(-ов).

Обрешетина кровли из деревянного бруса подвергается действию вертикальной равномерно распределенной нагрузки с интенсивностью q. Нагрузка складывается из веса кровли и снеговой нагрузки.
При косом изгибе в поперечных сечениях стержня, в общем случае, действуют _________ внутренних силовых фактора(-ов).
19 Кейс-задания: Кейс 2 подзадача 1

На рисунке показана двутавровая балка № 50, подвешенная на двух троссах.
– погонный вес (вес части балки единичной длины),
– момент сопротивления поперечного сечения,
– статический момент полуплощади поперечного сечения относительно оси x,
– осевой момент инерции поперечного сечения относительно оси x.




Расчетная схема балки имеет вид …

На рисунке показана двутавровая балка № 50, подвешенная на двух троссах.
– погонный вес (вес части балки единичной длины),
– момент сопротивления поперечного сечения,
– статический момент полуплощади поперечного сечения относительно оси x,
– осевой момент инерции поперечного сечения относительно оси x.



Расчетная схема балки имеет вид …
20 Кейс-задания: Кейс 2 подзадача 2

На рисунке показана двутавровая балка № 50, подвешенная на двух троссах.
– погонный вес (вес части балки единичной длины),
– момент сопротивления поперечного сечения,
– статический момент полуплощади поперечного сечения относительно оси x,
– осевой момент инерции поперечного сечения относительно оси x.
Максимальное, по абсолютной величине, касательное напряжение в поперечном сечении балки равно _____ кПа. (Ответ округлить до целого числа.)

На рисунке показана двутавровая балка № 50, подвешенная на двух троссах.
– погонный вес (вес части балки единичной длины),
– момент сопротивления поперечного сечения,
– статический момент полуплощади поперечного сечения относительно оси x,
– осевой момент инерции поперечного сечения относительно оси x.Максимальное, по абсолютной величине, касательное напряжение в поперечном сечении балки равно _____ кПа. (Ответ округлить до целого числа.)
21 Кейс-задания: Кейс 2 подзадача 3

На рисунке показана двутавровая балка № 50, подвешенная на двух троссах.
– погонный вес (вес части балки единичной длины),
– момент сопротивления поперечного сечения,
– статический момент полуплощади поперечного сечения относительно оси x,
– осевой момент инерции поперечного сечения относительно оси x.
Укажите правильную последовательность указанных действий.

На рисунке показана двутавровая балка № 50, подвешенная на двух троссах.
– погонный вес (вес части балки единичной длины),
– момент сопротивления поперечного сечения,
– статический момент полуплощади поперечного сечения относительно оси x,
– осевой момент инерции поперечного сечения относительно оси x.Укажите правильную последовательность указанных действий.
22 Кейс-задания: Кейс 1 подзадача 1

Колонна здания прямоугольного поперечного сечения нагружена силой F в точке K.

Ядро поперечного сечения колонны имеет вид, показанный на рисунке …

Колонна здания прямоугольного поперечного сечения нагружена силой F в точке K.

Ядро поперечного сечения колонны имеет вид, показанный на рисунке …
23 Кейс-задания: Кейс 1 подзадача 2

Колонна здания прямоугольного поперечного сечения нагружена силой F в точке K.


Нормальное напряжение в точке С поперечного сечения равно ____ МПа. Значение нормального напряжения в точке С округлить до целого числа.

Колонна здания прямоугольного поперечного сечения нагружена силой F в точке K.


Нормальное напряжение в точке С поперечного сечения равно ____ МПа. Значение нормального напряжения в точке С округлить до целого числа.
24 Кейс-задания: Кейс 1 подзадача 1

На рисунке показана двутавровая балка
один конец которой жестко защемлен, а другой свободен. Балка нагружена силой F, лежащей в плоскости поперечного сечения.



Напряженное состояние в точке С поперечного сечения балки – …

На рисунке показана двутавровая балка
один конец которой жестко защемлен, а другой свободен. Балка нагружена силой F, лежащей в плоскости поперечного сечения.


Напряженное состояние в точке С поперечного сечения балки – …
25 Кейс-задания: Кейс 1 подзадача 2

На рисунке показана двутавровая балка
один конец которой жестко защемлен, а другой свободен. Балка нагружена силой F, лежащей в плоскости поперечного сечения.


Горизонтальное перемещение свободного конца балки равно ____ мм. (Ответ округлить до целого числа.)

На рисунке показана двутавровая балка
один конец которой жестко защемлен, а другой свободен. Балка нагружена силой F, лежащей в плоскости поперечного сечения.

Горизонтальное перемещение свободного конца балки равно ____ мм. (Ответ округлить до целого числа.)
26 Кейс-задания: Кейс 1 подзадача 3

На рисунке показана двутавровая балка
один конец которой жестко защемлен, а другой свободен. Балка нагружена силой F, лежащей в плоскости поперечного сечения.


Максимальное нормальное напряжение в поперечном сечении балки, по абсолютной величине, равно ____ МПа. (Ответ округлить до целого числа.)

На рисунке показана двутавровая балка
один конец которой жестко защемлен, а другой свободен. Балка нагружена силой F, лежащей в плоскости поперечного сечения.

Максимальное нормальное напряжение в поперечном сечении балки, по абсолютной величине, равно ____ МПа. (Ответ округлить до целого числа.)
27 Кейс-задания: Кейс 2 подзадача 1

На рисунке показана двутавровая балка № 50, подвешенная на двух троссах.
– погонный вес (вес части балки единичной длины),
– момент сопротивления поперечного сечения,
– статический момент полуплощади поперечного сечения относительно оси x,
– осевой момент инерции поперечного сечения относительно оси x.
Продольные силы в тросах, определенные в общем виде, равны:

На рисунке показана двутавровая балка № 50, подвешенная на двух троссах.
– погонный вес (вес части балки единичной длины),
– момент сопротивления поперечного сечения,
– статический момент полуплощади поперечного сечения относительно оси x,
– осевой момент инерции поперечного сечения относительно оси x.Продольные силы в тросах, определенные в общем виде, равны:

28 Кейс-задания: Кейс 2 подзадача 2

На рисунке показана двутавровая балка № 50, подвешенная на двух троссах.
– погонный вес (вес части балки единичной длины),
– момент сопротивления поперечного сечения,
– статический момент полуплощади поперечного сечения относительно оси x,
– осевой момент инерции поперечного сечения относительно оси x.
Максимальное, по абсолютной величине, нормальное напряжение в поперечном сечении балки равно ____ кПа. (Ответ округлить до целого числа.)

На рисунке показана двутавровая балка № 50, подвешенная на двух троссах.
– погонный вес (вес части балки единичной длины),
– момент сопротивления поперечного сечения,
– статический момент полуплощади поперечного сечения относительно оси x,
– осевой момент инерции поперечного сечения относительно оси x.Максимальное, по абсолютной величине, нормальное напряжение в поперечном сечении балки равно ____ кПа. (Ответ округлить до целого числа.)