Сопротивление материалов – страница 68
1 
На рисунке показана масса m прикрепленная к валу CD. Система вращается равномерно с угловой скоростью
. Размер l, допускаемое нормальное напряжение для материала вала
– заданы. Из расчета на прочность по допускаемым напряжениям минимально допустимый диаметр вала равен … Расчет вести по недеформированной схеме. В расчете учесть только силу инерции массы m.

На рисунке показана масса m прикрепленная к валу CD. Система вращается равномерно с угловой скоростью
. Размер l, допускаемое нормальное напряжение для материала вала
– заданы. Из расчета на прочность по допускаемым напряжениям минимально допустимый диаметр вала равен … Расчет вести по недеформированной схеме. В расчете учесть только силу инерции массы m.5 Кейс-задания: Кейс 1 подзадача 1

Обрешетина кровли из деревянного бруса подвергается действию вертикальной равномерно распределенной нагрузки с интенсивностью q. Нагрузка складывается из веса кровли и снеговой нагрузки.
Уравнение нейтральной линии при косом изгибе имеет вид …

Обрешетина кровли из деревянного бруса подвергается действию вертикальной равномерно распределенной нагрузки с интенсивностью q. Нагрузка складывается из веса кровли и снеговой нагрузки.
Уравнение нейтральной линии при косом изгибе имеет вид …
6 Кейс-задания: Кейс 1 подзадача 2

Обрешетина кровли из деревянного бруса подвергается действию вертикальной равномерно распределенной нагрузки с интенсивностью q. Нагрузка складывается из веса кровли и снеговой нагрузки.

Обрешетину рассматриваем как балку шарнирно опертую по концам. Угол поворота сечения над опорой в плоскости yoz равен …
Угол поворота вычислить с точностью до десятых долей градуса.

Обрешетина кровли из деревянного бруса подвергается действию вертикальной равномерно распределенной нагрузки с интенсивностью q. Нагрузка складывается из веса кровли и снеговой нагрузки.

Обрешетину рассматриваем как балку шарнирно опертую по концам. Угол поворота сечения над опорой в плоскости yoz равен …
Угол поворота вычислить с точностью до десятых долей градуса.
7 Кейс-задания: Кейс 1 подзадача 3

Обрешетина кровли из деревянного бруса подвергается действию вертикальной равномерно распределенной нагрузки с интенсивностью q. Нагрузка складывается из веса кровли и снеговой нагрузки.

Обрешетину рассматриваем как балку шарнирно опертую по концам. Коэффициент запаса прочности равен …
Коэффициент запаса прочности округлить до целого числа.

Обрешетина кровли из деревянного бруса подвергается действию вертикальной равномерно распределенной нагрузки с интенсивностью q. Нагрузка складывается из веса кровли и снеговой нагрузки.

Обрешетину рассматриваем как балку шарнирно опертую по концам. Коэффициент запаса прочности равен …
Коэффициент запаса прочности округлить до целого числа.
8 Кейс-задания: Кейс 2 подзадача 1

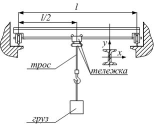
На рисунке показано схематическое изображение мостового крана пролетом l, состоящего из двутавра и тележки. Кран поднимает или опускает груз весом F с ускорением а.
Груз весом F = 19,62 кН подвешен на тросе и поднимается с постоянным ускорением
Величина инерционной нагрузки на мостовой кран, без учета массы троса, равна ____ кН.

На рисунке показано схематическое изображение мостового крана пролетом l, состоящего из двутавра и тележки. Кран поднимает или опускает груз весом F с ускорением а.
Груз весом F = 19,62 кН подвешен на тросе и поднимается с постоянным ускорением
Величина инерционной нагрузки на мостовой кран, без учета массы троса, равна ____ кН.9 Кейс-задания: Кейс 2 подзадача 2

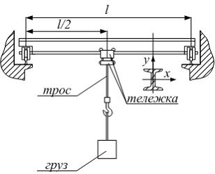
На рисунке показано схематическое изображение мостового крана пролетом l, состоящего из двутавра и тележки. Кран поднимает или опускает груз весом F с ускорением а.

Двутавровая балка №40 (см. рисунок) мостового крана нагружена весом тележки, весом груза и инерционной силой, вызванной ускоренным движением груза вверх.
Суммарная сила F, действующая на балку, равна 50 кН.
Длина балки l = 10 м. Максимальное нормальное напряжение в балке равно _____ МПа. Балку считать шарнирно опертой по концам. Величину максимального нормального напряжения округлить до целого числа.

На рисунке показано схематическое изображение мостового крана пролетом l, состоящего из двутавра и тележки. Кран поднимает или опускает груз весом F с ускорением а.

Двутавровая балка №40 (см. рисунок) мостового крана нагружена весом тележки, весом груза и инерционной силой, вызванной ускоренным движением груза вверх.
Суммарная сила F, действующая на балку, равна 50 кН.
Длина балки l = 10 м. Максимальное нормальное напряжение в балке равно _____ МПа. Балку считать шарнирно опертой по концам. Величину максимального нормального напряжения округлить до целого числа.
10 Кейс-задания: Кейс 2 подзадача 3

На рисунке показано схематическое изображение мостового крана пролетом l, состоящего из двутавра и тележки. Кран поднимает или опускает груз весом F с ускорением а.
Полагаем, что тележка находится в середине пролета. Укажите правильную последовательность заданных действий.

На рисунке показано схематическое изображение мостового крана пролетом l, состоящего из двутавра и тележки. Кран поднимает или опускает груз весом F с ускорением а.
Полагаем, что тележка находится в середине пролета. Укажите правильную последовательность заданных действий.
11 Кейс-задания: Кейс 2 подзадача 1

На рисунке показано схематическое изображение мостового крана пролетом l, состоящего из двутавра и тележки. Кран поднимает или опускает груз весом F с ускорением а.
Груз весом 50 кН поднимается с постоянным ускорением
Динамический прогиб среднего сечения двутавровой балки больше статического (в предположении, что груз неподвижен или поднимется с постоянной скоростью) в _______ раза.

На рисунке показано схематическое изображение мостового крана пролетом l, состоящего из двутавра и тележки. Кран поднимает или опускает груз весом F с ускорением а.
Груз весом 50 кН поднимается с постоянным ускорением
Динамический прогиб среднего сечения двутавровой балки больше статического (в предположении, что груз неподвижен или поднимется с постоянной скоростью) в _______ раза.12 Кейс-задания: Кейс 2 подзадача 2

На рисунке показано схематическое изображение мостового крана пролетом l, состоящего из двутавра и тележки. Кран поднимает или опускает груз весом F с ускорением а.

Двутавровая балка № 40 (см. рисунок) мостового крана нагружена весом тележки, весом груза и инерционной силой, вызванной ускоренным движением груза вверх. Суммарная сила F, действующая на балку, равна 50 кН. Максимальное касательное напряжение в поперечном сечении балки равно ______ МПа.
Балку считать шарнирно опертой по концам. Расчеты проводить с точностью до сотых. Величину максимального касательного напряжения округлить до целого числа.

На рисунке показано схематическое изображение мостового крана пролетом l, состоящего из двутавра и тележки. Кран поднимает или опускает груз весом F с ускорением а.

Двутавровая балка № 40 (см. рисунок) мостового крана нагружена весом тележки, весом груза и инерционной силой, вызванной ускоренным движением груза вверх. Суммарная сила F, действующая на балку, равна 50 кН. Максимальное касательное напряжение в поперечном сечении балки равно ______ МПа.
Балку считать шарнирно опертой по концам. Расчеты проводить с точностью до сотых. Величину максимального касательного напряжения округлить до целого числа.
13 Кейс-задания: Кейс 2 подзадача 3

На рисунке показано схематическое изображение мостового крана пролетом l, состоящего из двутавра и тележки. Кран поднимает или опускает груз весом F с ускорением а.
Укажите правильную последовательность заданных действий.

На рисунке показано схематическое изображение мостового крана пролетом l, состоящего из двутавра и тележки. Кран поднимает или опускает груз весом F с ускорением а.
Укажите правильную последовательность заданных действий.
14 Кейс-задания: Кейс 1 подзадача 1

Обрешетина кровли из деревянного бруса подвергается действию вертикальной равномерно распределенной нагрузки с интенсивностью q. Нагрузка складывается из веса кровли и снеговой нагрузки.
Обрешетина испытывает деформацию …

Обрешетина кровли из деревянного бруса подвергается действию вертикальной равномерно распределенной нагрузки с интенсивностью q. Нагрузка складывается из веса кровли и снеговой нагрузки.
Обрешетина испытывает деформацию …
15 Кейс-задания: Кейс 1 подзадача 2

Обрешетина кровли из деревянного бруса подвергается действию вертикальной равномерно распределенной нагрузки с интенсивностью q. Нагрузка складывается из веса кровли и снеговой нагрузки.

Обрешетину рассматриваем как балку шарнирно опертую по концам. Прогиб среднего сечения в направлении оси y равен ____ см. Влиянием поперечной силы пренебречь. Прогиб вычислить с точностью до сотых.

Обрешетина кровли из деревянного бруса подвергается действию вертикальной равномерно распределенной нагрузки с интенсивностью q. Нагрузка складывается из веса кровли и снеговой нагрузки.

Обрешетину рассматриваем как балку шарнирно опертую по концам. Прогиб среднего сечения в направлении оси y равен ____ см. Влиянием поперечной силы пренебречь. Прогиб вычислить с точностью до сотых.
Такой цикл напряжений называется …