Математика и информатика – страница 26
Даны два математических утверждения:
«Через точку, не лежащую на данной прямой, проходит только одна прямая, параллельная данной» и
«Если две прямые параллельны третьей, то они параллельны». Тогда справедливы следующие высказывания …
«Через точку, не лежащую на данной прямой, проходит только одна прямая, параллельная данной» и
«Если две прямые параллельны третьей, то они параллельны». Тогда справедливы следующие высказывания …Топология компьютерной сети, в которой каждый компьютер подсоединен к двум соседним компьютерам, называется …
В стопке из 16 конвертов на 7 приклеены марки. Наудачу извлекают 2 конверта. Вероятность того, что на них не будет марок, равна …
Алгоритм задан блок-схемой:

Приведенная блок-схема представляет алгоритм решения задачи вычисления
при записи Условия …

Приведенная блок-схема представляет алгоритм решения задачи вычисления
при записи Условия …Наибольшее значение, принимаемое непрерывной случайной величиной
, равно 3. Функция ее плотности распределения может иметь вид …
, равно 3. Функция ее плотности распределения может иметь вид …Локальная сеть предприятия, основанная на применении семейства протоколов TCP/IP и использовании для передачи и отображения информации протокола HTTP, называется …
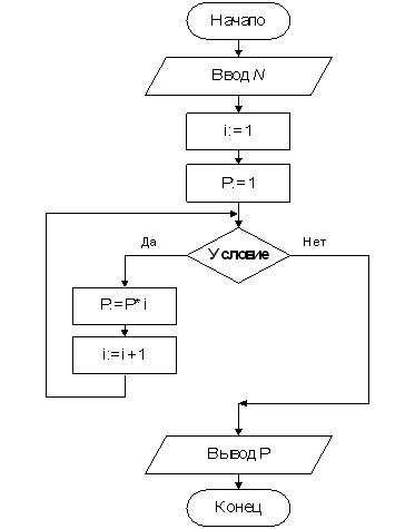
Алгоритм задан блок-схемой:
.
В результате выполнения представленного алгоритма при
будет выведено …
.В результате выполнения представленного алгоритма при
будет выведено …Всего в таблице ASCII может содержаться 256 однобайтовых кодов символов. Первые 128 однобайтовых кодов определены для прописных и строчных латинских букв и специальных знаков. Вторые 128 кодов предназначаются …
Алгоритм задан блок-схемой:

После выполнения алгоритма для входных данных
и
значение переменной
будет равно …

После выполнения алгоритма для входных данных
и
значение переменной
будет равно …Бросают три игральных кубика. Установите соответствие между событиями и их видами.
1. «Появление 7 очков»
2. «Появление 19 очков»
1. «Появление 7 очков»
2. «Появление 19 очков»
