Электротехника и электроника (Основы теории цепей) – страница 27
1 
В плоской гармонической волне, распространяющейся (см. рисунок) в однородной проводящей среде, в любой ее точке разность фаз напряженностей

В плоской гармонической волне, распространяющейся (см. рисунок) в однородной проводящей среде, в любой ее точке разность фаз напряженностей

Один вебер
равен …
равен …При коэффициенте распространения
глубина проникновения плоской гармонической волны в однородную проводящую среду
равна ____ мм.
глубина проникновения плоской гармонической волны в однородную проводящую среду
равна ____ мм.В занятом электростатическим полем с потенциалом
пространстве с относительной диэлектрической проницаемостью
объемная плотность свободных зарядов
равна ____ 
пространстве с относительной диэлектрической проницаемостью
объемная плотность свободных зарядов
равна ____ 
Если переходный процесс в цепи носит колебательный характер, то корни
и
характеристического уравнения являются …
и
характеристического уравнения являются …10 
Действующая на расположенный над проводящей поверхностью положительный заряд q сила
направлена по …

Действующая на расположенный над проводящей поверхностью положительный заряд q сила
направлена по …На поверхности раздела двух однородных и изотропных проводящих сред с удельными проводимостями
и
справедливы граничные условия …
а)
б)
в)
г)
и
справедливы граничные условия …а)

б)

в)

г)

12 
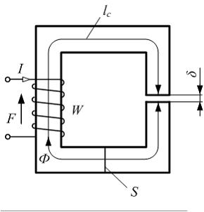
Если в магнитной цепи (см. рисунок) число витков обмотки
ток в обмотке
магнитный поток в сердечнике
то магнитное сопротивление всей цепи равно ___ 

Если в магнитной цепи (см. рисунок) число витков обмотки
ток в обмотке
магнитный поток в сердечнике
то магнитное сопротивление всей цепи равно ___ 
При коэффициенте распространения плоской гармонической волны в однородной проводящей среде
длина волны
равна ___ мм.
длина волны
равна ___ мм.В непроводящей среде с относительной диэлектрической проницаемостью
потенциал электростатического поля
Объемная плотность заряда
равна ____ 
потенциал электростатического поля
Объемная плотность заряда
равна ____ 
равен …
то 


максимальное значение тока 
слагаемое
определяет плотность …