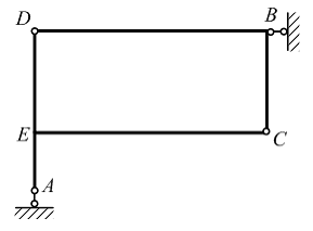
Изображение вопроса На рисунке показана плоская, статически неопредели...
На рисунке показана плоская, статически неопределимая рама и четыре варианта основной системы метода сил. Правильный ответ соответствует варианту...
• 
• 
• 
• 
Тема: Метод сил
Предмет: Сопротивление материалов