Механика (Детали машин и основы конструирования) – страница 12
Сила прижатия цилиндрических катков фрикционной передачи увеличена в 2 раза. Напряжения в контакте …
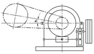
На рисунке изображена схема привода, состоящего из ременной, зубчатой цилиндрической, червячной и цепной передач. Наибольшие потери энергии происходят в __________ передаче.


Применение конусных сцепных муфт для компенсирования погрешностей установки валов …
Вал редуктора имеет ступенчатую форму. Эпюра изгибающего момента M изображена на рисунке. Место наиболее вероятного усталостного разрушения вала обозначено …


Самоуправляемые муфты, у которых ведущей может быть любая из полумуфт, являются муфтами …
Сварные соединения деталей изображенного на рисунке зубчатого колеса называются ___________ и выполнены они __________ швами.


Для фиксации корпусных деталей редукторов от смещений под действием сдвигающих нагрузок применяются …
Шпоночное соединение может передавать большую нагрузку, если детали по цилиндрической поверхности соединены …


