Информатика – страница 50
Алгоритм задан схемой:

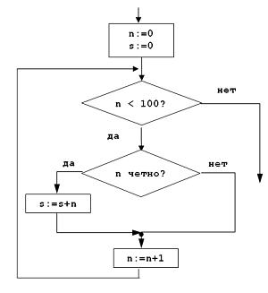
В результате выполнения алгоритма при исходных данных
значение переменной
будет равно …

В результате выполнения алгоритма при исходных данных
значение переменной
будет равно …Средство визуализации информации, позволяющее просматривать, вводить и редактировать данные в удобном формате, – это …


6 
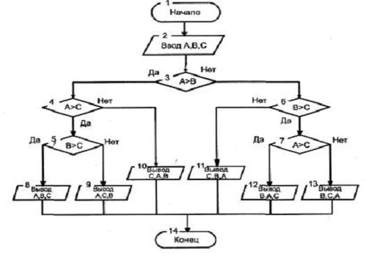
Даны действительные числа
,
и схема алгоритма определения принадлежности точки с координатами
,
заштрихованной области на рисунке. В схеме не достает проверки условия …


Даны действительные числа
,
и схема алгоритма определения принадлежности точки с координатами
,
заштрихованной области на рисунке. В схеме не достает проверки условия … 
Выбрать необходимые данные из одной или нескольких взаимосвязанных таблиц в MS Access, отобрать нужные поля, произвести вычисления и получить результат в виде новой таблицы можно с помощью …


Графическое отображение логической структуры базы данных в MS Access, задающее ее структуру и связи, называется …


Средство визуализации информации, позволяющее осуществить выдачу данных на устройство вывода или передачу по каналам связи, – это …






