Информатика – страница 44
Процесс построчного анализа исходной программы на языке программирования и ее исполнения называется …
Модему, передающему сообщения со скоростью 28 800 бит/с, для передачи 100 страниц текста в 30 строк по 60 символов каждая в кодировке ASCII потребуется ______ секунд (-ы).
Заданное в восьмеричной системе счисления число
равно десятичному числу ...
равно десятичному числу ...
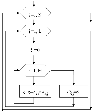
Дана схема алгоритма:

С помощью операции
вычисляют остаток от деления числа a на b, операция
позволяет определить целую часть от деления числа а на b.
В результате выполнения алгоритма при входном значении
значение переменной
будет равно …

С помощью операции
вычисляют остаток от деления числа a на b, операция
позволяет определить целую часть от деления числа а на b. В результате выполнения алгоритма при входном значении
значение переменной
будет равно …На диаграмме показано количество призеров олимпиады по информатике (И), математике (М) и физике (Ф) в трех городах России:

Диаграммой, правильно отражающей соотношение призеров из всех городов по каждому предмету, является …

Диаграммой, правильно отражающей соотношение призеров из всех городов по каждому предмету, является …
Логическому выражению
равносильно выражение …
равносильно выражение …Если в приведенном окне нажать кнопку Очистка диска, то соответствующая служебная программа позволит …


Характерной особенностью любой экспертной системы, отличающей ее от других компьютерных информационных систем, является …



